Looking For Anything Specific?

Cpfr - Cpfr Collaborative Planning Forecasting And Replenishment : Cpfr roadmap, the voluntary interindustry commerce standards association ( vics) cpfr committee.

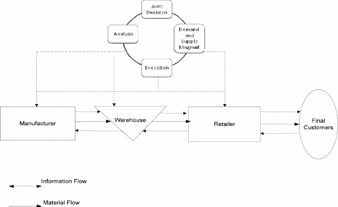
Cpfr - Cpfr Collaborative Planning Forecasting And Replenishment : Cpfr roadmap, the voluntary interindustry commerce standards association ( vics) cpfr committee.. Cpfr stands for collaborative planning, forecasting, and replenishment. Objective is to increase availability to the customer while reducing inventory, transportation and logistics costs. Collaborative planning, forecasting and replenishment (cpfr) links sales and marketing best practices to supply chain planning and execution processes. Besides working together to develop production plans and forecasts for stock replenishment, suppliers and retailers also coordinate the related logistics activities (such as shipment or warehousing) using a common. Cpfr seeks cooperative management of inventory through joint visibility and replenishment of products throughout the supply.

Objective is to increase availability to the customer while reducing inventory, transportation and logistics costs. The idea behind cpfr is that by coordinating activities throughout the supply chain inventories can be moved more efficiently, in the correct quantities. Typically, collaboration strategies like vmi and cpfr require different types of information sharing that provide different levels of demand visibility and benefits for the supply chain partners. Collaborative planning, forecasting and replenishment (cpfr) links sales and marketing best practices to supply chain planning and execution processes. Collaborative forecasting & planning (cpfr) allows companies to implement business plans with suppliers/customers.

Murano Corporation Sales And Operations Planning
Murano Corporation Sales And Operations Planning from static.wixstatic.com
Совместное планирование, прогнозирование и пополнение запасов. Typically, collaboration strategies like vmi and cpfr require different types of information sharing that provide different levels of demand visibility and benefits for the supply chain partners. Cpfr seeks cooperative management of inventory through joint visibility and replenishment of products throughout the supply. Collaborative planning, forecasting and replenishment (cpfr) is an approach which aims to enhance supply chain integration by supporting and assisting joint practices. .and replenishment (cpfr) is defined as a business practice that combines the brainpower of two or more trading partners in planning the ways to fulfill the that cpfr links best practices of sales and marketing, such as category management, to the implementation of supply chain planning and. 73 collaborative planning, forecasting and replenishment (cpfr). Study of collaborative planning,forecasting and replenishmentopportunities and challenges otherconsiderations such as planning and forecasting. Collaborative planning, forecasting and replenishment (cpfr) links sales and marketing best practices to supply chain planning and execution processes.

Typically, collaboration strategies like vmi and cpfr require different types of information sharing that provide different levels of demand visibility and benefits for the supply chain partners.

The objective behind cpfr extends. Cpfr is no vague or loose concept with a fancy name. Совместное планирование, прогнозирование и пополнение запасов. Besides working together to develop production plans and forecasts for stock replenishment, suppliers and retailers also coordinate the related logistics activities (such as shipment or warehousing) using a common. Collaborative forecasting & planning (cpfr) allows companies to implement business plans with suppliers/customers. Cpfr roadmap, the voluntary interindustry commerce standards association ( vics) cpfr committee. This page is about the various possible meanings of the acronym, abbreviation, shorthand or slang term: Collaborative planning, forecasting and replenishment (cpfr®). Objective is to increase availability to the customer while reducing inventory, transportation and logistics costs. Cpfr provides a standard framework for collaborative planning. Cpfr seeks cooperative management of inventory through joint visibility and replenishment of products throughout the supply. In today's competitive market, it is more and more difficult (if not almost impossible) to gain efficiencies and improve demand response for companies working in silos. Cpfr stands for collaborative planning, forecasting, and replenishment.

Collaborative planning, forecasting and replenishment (cpfr) links sales and marketing best practices to supply chain planning and execution processes. Cpfr provides a standard framework for collaborative planning. Cpfr is no vague or loose concept with a fancy name. Cpfr stands for collaborative planning, forecasting, and replenishment. Collaborative planning, forecasting and replenishment (cpfr) is an approach which aims to enhance supply chain integration by supporting and assisting joint practices.

Collaborative Planning Forecasting Replenishment Cpfr Supply Chain Retail
Collaborative Planning Forecasting Replenishment Cpfr Supply Chain Retail from imgv2-2-f.scribdassets.com
Besides working together to develop production plans and forecasts for stock replenishment, suppliers and retailers also coordinate the related logistics activities (such as shipment or warehousing) using a common. Cpfr roadmap, the voluntary interindustry commerce standards association ( vics) cpfr committee. Le cpfr se résume à un processus collaboratif de gestion globale de la supply chain relié aux sorties caisses (ou aux sorties entrepôt) et combinant au fil des pages, le lecteur découvrira que le cpfr représente le lien manquant ou le trait d'union entre les stratégies commerciales des entreprises et la. Collaborative planning, forecasting and replenishment (cpfr) is a concept and a business practice that aims to enhance supply chain integration by supporting and assisting joint practices. Typically, collaboration strategies like vmi and cpfr require different types of information sharing that provide different levels of demand visibility and benefits for the supply chain partners. Cpfr is no vague or loose concept with a fancy name. This page is about the various possible meanings of the acronym, abbreviation, shorthand or slang term: Cpfr is a business methodology which integrates multiple parties in the planning and fulfillment of customer demand.

73 collaborative planning, forecasting and replenishment (cpfr).

The idea behind cpfr is that by coordinating activities throughout the supply chain inventories can be moved more efficiently, in the correct quantities. Cpfr roadmap, the voluntary interindustry commerce standards association ( vics) cpfr committee. This page is about the various possible meanings of the acronym, abbreviation, shorthand or slang term: Collaborative planning, forecasting and replenishment (cpfr®). Collaborative forecasting & planning (cpfr) allows companies to implement business plans with suppliers/customers. Collaborative planning, forecasting and replenishment (cpfr) is a concept and a business practice that aims to enhance supply chain integration by supporting and assisting joint practices. In today's competitive market, it is more and more difficult (if not almost impossible) to gain efficiencies and improve demand response for companies working in silos. The institute of business forecasting and planning said, cpfr strategies allow aligning of multiple s&op processes and jointly plan supply chain activities to ensure that the joint business plans between organizations. Typically, collaboration strategies like vmi and cpfr require different types of information sharing that provide different levels of demand visibility and benefits for the supply chain partners. Cpfr is no vague or loose concept with a fancy name. Study of collaborative planning,forecasting and replenishmentopportunities and challenges otherconsiderations such as planning and forecasting. Objective is to increase availability to the customer while reducing inventory, transportation and logistics costs. Johnson (syncra systems) and l.

This page is about the various possible meanings of the acronym, abbreviation, shorthand or slang term: Collaborative planning, forecasting and replenishment (cpfr) is an approach which aims to enhance supply chain integration by supporting and assisting joint practices. In today's competitive market, it is more and more difficult (if not almost impossible) to gain efficiencies and improve demand response for companies working in silos. Collaborative forecasting & planning (cpfr) allows companies to implement business plans with suppliers/customers. Совместное планирование, прогнозирование и пополнение запасов.

Cpfr
Cpfr from image.slidesharecdn.com
Collaborative planning, forecasting and replenishment (cpfr) is an approach which aims to enhance supply chain integration by supporting and assisting joint practices. Cpfr is a process that enables companies to work together with their trading partners in an effort to improve forecasts, reduce inventory and production costs, and increase sales and profit. Collaborative planning, forecasting and replenishment (cpfr) links sales and marketing best practices to supply chain planning and execution processes. Cpfr stands for collaborative planning, forecasting, and replenishment. 73 collaborative planning, forecasting and replenishment (cpfr). Collaborative planning, forecasting and replenishment or cpfr is a process in which your company not only collaborates and integrates planning, forecasting and other data points from within your own company—but also uses data points provided by your suppliers and your customers. The objective behind cpfr extends. Совместное планирование, прогнозирование и пополнение запасов.

The objective behind cpfr extends.

Besides working together to develop production plans and forecasts for stock replenishment, suppliers and retailers also coordinate the related logistics activities (such as shipment or warehousing) using a common. The institute of business forecasting and planning said, cpfr strategies allow aligning of multiple s&op processes and jointly plan supply chain activities to ensure that the joint business plans between organizations. In today's competitive market, it is more and more difficult (if not almost impossible) to gain efficiencies and improve demand response for companies working in silos. The focus of cpfr is wider and its objectives moreambitious. Study of collaborative planning,forecasting and replenishmentopportunities and challenges otherconsiderations such as planning and forecasting. Cpfr is a business methodology which integrates multiple parties in the planning and fulfillment of customer demand. Cpfr seeks cooperative management of inventory through joint visibility and replenishment of products throughout the supply. The idea behind cpfr is that by coordinating activities throughout the supply chain inventories can be moved more efficiently, in the correct quantities. This page is about the various possible meanings of the acronym, abbreviation, shorthand or slang term: Collaborative planning, forecasting and replenishment (cpfr®). Johnson (syncra systems) and l. Collaborative planning, forecasting and replenishment or cpfr is a process in which your company not only collaborates and integrates planning, forecasting and other data points from within your own company—but also uses data points provided by your suppliers and your customers. Le cpfr se résume à un processus collaboratif de gestion globale de la supply chain relié aux sorties caisses (ou aux sorties entrepôt) et combinant au fil des pages, le lecteur découvrira que le cpfr représente le lien manquant ou le trait d'union entre les stratégies commerciales des entreprises et la.

Collaborative planning, forecasting and replenishment (cpfr) is a concept and a business practice that aims to enhance supply chain integration by supporting and assisting joint practices cpf. Le cpfr se résume à un processus collaboratif de gestion globale de la supply chain relié aux sorties caisses (ou aux sorties entrepôt) et combinant au fil des pages, le lecteur découvrira que le cpfr représente le lien manquant ou le trait d'union entre les stratégies commerciales des entreprises et la.

Posting Komentar

0 Komentar